Войти
Вход на сайт
Вход через социальную сеть

Пули и пулевые патроны

Тема в разделе "Патроны", создана пользователем i-vodolaz, 8 ноя 2008.

  1. kislin65

    kislin65
    Михаил
    г. Новосибирск Ветеран

    Регистрация:
    04.01.16
    Сообщения:
    527
    Рейтинг:
    200
    Благодарности:
    100
    Адрес:
    г. Новосибирск
    Собаки:
    нет
    Оружие:
    MP-153
  2. kislin65

    kislin65
    Михаил
    г. Новосибирск Ветеран

    Регистрация:
    04.01.16
    Сообщения:
    527
    Рейтинг:
    200
    Благодарности:
    100
    Адрес:
    г. Новосибирск
    Собаки:
    нет
    Оружие:
    MP-153
    РОССИЙСКАЯ ФЕДЕРАЦИЯ
    [​IMG]
    ФЕДЕРАЛЬНАЯ СЛУЖБА
    ПО ИНТЕЛЛЕКТУАЛЬНОЙ СОБСТВЕННОСТИ,
    ПАТЕНТАМ И ТОВАРНЫМ ЗНАКАМ


    (19)

    RU

    (11)

    36504

    (13)

    U1


    (51) МПК 7

    F42B30/02
    F42B12/34

    (12) СВИДЕТЕЛЬСТВО НА ПОЛЕЗНУЮ МОДЕЛЬ



    (21), (22) Заявка: 2003128118/20, 18.09.2003

    (24) Дата начала отсчета срока действия патента:
    18.09.2003

    (45) Опубликовано: 10.03.2004

    Адрес для переписки:
    630013, г.Новосибирск, ул. Чекалина, 8, ФГУП НМЗ "Искра", директору А.Г. Неклюдову

    (71) Заявитель(и):
    ФГУП НМЗ "Искра"

    (72) Автор(ы):
    Кислин М.А.,
    Садовников А.С.,
    Пеньков В.А.,
    Зыков В.А.


    (73) Патентообладатель(и):
    ФГУП НМЗ "Искра"

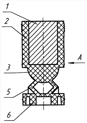
    (54) Пуля для ружей


    Формула полезной модели

    1. Пуля для ружей, содержащая металлическую поражающую часть, выполненную в виде цилиндра с соотношением длины к диаметру не менее 1,5, размещенную по оси пули с натягом внутри цилиндрической полости, выполненной внутри пластмассового стабилизатора с обтюрирующей юбкой, длина которого не менее чем 1,5 раза превышает длину металлической поражающей части, отличающаяся тем, что обтюрирующая юбка соединена с пластмассовым стабилизатором через амортизирующее устройство в виде встроенной комбинированной конструкции со стенками толщиной 1,1-1,5 мм и с изменяемой в процессе выстрела формой в виде последовательно расположенных от пластмассового стабилизатора к обтюрирующей юбке полуокружности радиуса 5-7 мм с центральной крестообразной стойкой жесткости и ромбом с диагональю 8-10 мм, у которого два ребра, пересекающие ось пули, срезаны на 1,5-2,5 мм с одной стороны стенкой обтюрирующей юбки, а с другой - стенкой полуокружности.

    2. Пуля для ружей по п.1, отличающаяся тем, что на боковой поверхности пластмассового стабилизатора в районе металлической поражающей части выполнены вдоль образующей стабилизатора симметрично расположенные канавки глубиной 0,5-0,8 мм.

    [​IMG]
     
  3. kislin65

    kislin65
    Михаил
    г. Новосибирск Ветеран

    Регистрация:
    04.01.16
    Сообщения:
    527
    Рейтинг:
    200
    Благодарности:
    100
    Адрес:
    г. Новосибирск
    Собаки:
    нет
    Оружие:
    MP-153
  4. kislin65

    kislin65
    Михаил
    г. Новосибирск Ветеран

    Регистрация:
    04.01.16
    Сообщения:
    527
    Рейтинг:
    200
    Благодарности:
    100
    Адрес:
    г. Новосибирск
    Собаки:
    нет
    Оружие:
    MP-153
  5. kislin65

    kislin65
    Михаил
    г. Новосибирск Ветеран

    Регистрация:
    04.01.16
    Сообщения:
    527
    Рейтинг:
    200
    Благодарности:
    100
    Адрес:
    г. Новосибирск
    Собаки:
    нет
    Оружие:
    MP-153
    @kislin65, чем данные пули отличаются от пуль Тандем (Митичкина), не первого варианта с двумя шарами, а последующих со стальным цилиндром. По грибообразности головы в некоторых вариантах тут понятно, но. видимо, не только. Тандем пользовался хорошим спросом, но уже почти как год перестал выпускаться и непонятно будет ли вообще дальше выпускаться. Или конструктивно они близки. Намного ли сталь выступает из контейнера (возможность контакта со стволом, у Тандема были несколько случаев по 12 к., что для канала ствола печально).
    Есть ли Обь в продаже и какова ее цена (интересуют партии в 500-1000 шт.)

    Опыт показал, что пули Обь не вызывают повреждений ствола ружья. По моему мнению производство аналога пули Обь будет запущено.
     
  6. IzhG

    IzhG
    Константин
    Новосибирск Ветеран

    Регистрация:
    11.12.12
    Сообщения:
    2.196
    Рейтинг:
    3.956
    Благодарности:
    1.989
    Адрес:
    Новосибирск
    Оружие:
    МР-153,
    А сравнивалась данная пуля с более "современными" конкурентами Л2 и т.д.
    И почему поперечник рассеивания в 12 см это хороший результат?
     
  7. kislin65

    kislin65
    Михаил
    г. Новосибирск Ветеран

    Регистрация:
    04.01.16
    Сообщения:
    527
    Рейтинг:
    200
    Благодарности:
    100
    Адрес:
    г. Новосибирск
    Собаки:
    нет
    Оружие:
    MP-153
    @IzhG, Обязательно проведем испытания современной пули Обь ( возможно будет называться Сибирь) в сравнении с Ленинградкой 2. С уважением
     
  8. IzhG

    IzhG
    Константин
    Новосибирск Ветеран

    Регистрация:
    11.12.12
    Сообщения:
    2.196
    Рейтинг:
    3.956
    Благодарности:
    1.989
    Адрес:
    Новосибирск
    Оружие:
    МР-153,
    @kislin65, спасибо . Если помощь какая-то нужна будет то обращайтесь.
     
  9. Бобровед

    Бобровед
    Максим (в интернете )
    г.Тверь Тверская обл. Новичок

    Регистрация:
    27.09.17
    Сообщения:
    41
    Рейтинг:
    14
    Благодарности:
    7
    Адрес:
    г.Тверь Тверская обл.
    Собаки:
    Ягд
    Оружие:
    ТОЗ 34 ,ИЖ18 ,ЛОСЬ-7 ,Сайга-308
    При прямой твёрдой шейке ложи -пластик ,толстые шейки МР - ОСОБЕННОСТЬ .
    Пуля ВСЕГДА идет выше дроби на дистанции метров от 15 - если не влияют другие факторы .
    Посмотрите инструкцию к гладкой Сайге 12-20 с регулируемыми прицельными -там чётко описано РАЗНОЕ положение целика при стрельбе дробью и пулей .
     
    Mogol86 нравится это.
  10. KulakoFF

    KulakoFF
    Александр
    Бердск Новичок

    Регистрация:
    12.02.17
    Сообщения:
    5
    Рейтинг:
    0
    Благодарности:
    0
    Адрес:
    Бердск
    @kwsp, Занимаюсь периодически производством пули - аналога "Обь -2" (грибообразный сердечник). На остатке есть не большое количество порядка 100шт. Если интерес серьезный и не разовый при следующем производственном цикле готов учесть Ваш интерес.
     
  11. xant-41

    xant-41
    андрей
    Саратовская губерня Ветеран

    Регистрация:
    25.07.13
    Сообщения:
    2.016
    Рейтинг:
    932
    Благодарности:
    466
    Адрес:
    Саратовская губерня
    Оружие:
    имеется
    Одни сердечники наверно не нужны будут.
     
  12. KulakoFF

    KulakoFF
    Александр
    Бердск Новичок

    Регистрация:
    12.02.17
    Сообщения:
    5
    Рейтинг:
    0
    Благодарности:
    0
    Адрес:
    Бердск
    @IzhG, Пуля - аналог "Обь - 2" (грибообразный сердечник). Отстреливали с расстояния 50, 75, 100 метров. Пуля - конкурент Пуля Полева свинцовая. Точно какой из множества модификаций не знаю (в магазине продали как пуля Полева и все). Били по листу стальному, закрепленному на щите из доски 20 мм. Обе пули летали не плохо, однако, "Обь" все-таки поточнее. На всех трех дистанциях у Оби совершенно круглые входные отверстия, пробитие сквозное, из стального листа вышибает, как при штамповке круглые пятачки стали.
     
  13. KulakoFF

    KulakoFF
    Александр
    Бердск Новичок

    Регистрация:
    12.02.17
    Сообщения:
    5
    Рейтинг:
    0
    Благодарности:
    0
    Адрес:
    Бердск
    @xant-41, @xant-41, Дружище, грибообразный сердечник - это значит, что пуля с грибообразным сердечником, а не с сердечником, типа ролик.
     
  14. kislin65

    kislin65
    Михаил
    г. Новосибирск Ветеран

    Регистрация:
    04.01.16
    Сообщения:
    527
    Рейтинг:
    200
    Благодарности:
    100
    Адрес:
    г. Новосибирск
    Собаки:
    нет
    Оружие:
    MP-153
    Применяются три вида сердечников ( размеры и массы приблизительно)
    -- просто ролик диаметр 13 мм и длина 23 мм, масса 23,5 г
    -- грибо-образный шляпка диаметр 16 мм высота шляпки 1,5 мм, далее ролик диаметром 13 мм длиной 20 мм. Масса 23,5 г;;
    грибо-образный шляпка диаметр 16 мм высота шляпки 5 мм, далее ролик диаметром 13 мм длиной 18 мм. Масса 25,8 г;;
     
  15. kislin65

    kislin65
    Михаил
    г. Новосибирск Ветеран

    Регистрация:
    04.01.16
    Сообщения:
    527
    Рейтинг:
    200
    Благодарности:
    100
    Адрес:
    г. Новосибирск
    Собаки:
    нет
    Оружие:
    MP-153
    Так работает стальной сердечник на высокой скорости upload_2018-11-11_17-22-7.jpeg по стальной пластине
     
  16. xant-41

    xant-41
    андрей
    Саратовская губерня Ветеран

    Регистрация:
    25.07.13
    Сообщения:
    2.016
    Рейтинг:
    932
    Благодарности:
    466
    Адрес:
    Саратовская губерня
    Оружие:
    имеется
    @KulakoFF, Я понял тот пост что производством пули не целиком, а изготовлением сердечников занимаетесь. Спасибо.
     
  17. kislin65

    kislin65
    Михаил
    г. Новосибирск Ветеран

    Регистрация:
    04.01.16
    Сообщения:
    527
    Рейтинг:
    200
    Благодарности:
    100
    Адрес:
    г. Новосибирск
    Собаки:
    нет
    Оружие:
    MP-153
    @xant-41, Изотовление сердечников достаточно технологично. А пулять ими можно любым пыжом-стабилизатором, если конечно он является аналогом пыжа-стабилизатора пули ОБЬ. ( цитирую цвет автомобиля может быть любым, если он черный) С уважением
     
    L~HUNTER нравится это.
  18. Главстрелок

    Главстрелок
    Славка
    К. К юг Ветеран

    Регистрация:
    18.11.12
    Сообщения:
    2.071
    Рейтинг:
    311
    Благодарности:
    154
    Адрес:
    К. К юг
    Собаки:
    РГ конкретные
    Оружие:
    САЙГА12 L-680 мм
    позвольте дополнить ( черный автомобиль с черной лентой )))) всеж пулять любыми контейнерами не стоит , поскольку 99% не знают аналогов пули обь , -Уточню подойдут контейнера для стальной дроби , но пуля не должна болтаться в нем , а также будет остро стоять вопрос с аналагами по дульному сужению ..
    вот пример
     
    Последнее редактирование: 13 ноя 2018
  19. kislin65

    kislin65
    Михаил
    г. Новосибирск Ветеран

    Регистрация:
    04.01.16
    Сообщения:
    527
    Рейтинг:
    200
    Благодарности:
    100
    Адрес:
    г. Новосибирск
    Собаки:
    нет
    Оружие:
    MP-153
    ИНСТРУКЦИЯ ПО СНАРЯЖЕНИЮ ПУЛИ КИСЛИНА (ПК-1) В ШТАТНОМ ВАРИАНТЕ

    Простое снаряжение патронов калибра 12/70 с антирикошетной пулей Кислина в пластмассовые или бумажные гильзы калибра 12/70 : пуля Кислина досылается прямо на порох. Вес пули 12-го калибра - 33 г, причем 5 г приходятся на пластмассовый пыж-стабилизатор, а остальное на стальной поражающий сердечник. Вес пороха "Сокол" для патрона 12-го калибра - 2.2 г (при ружьях весом 2.9-3.0 кг - 2.1 г). Увеличивать заряд пороха под пулю Кислина не следует: благодаря мощному обтюратору пуля Кислина дает хорошую обтюрацию пороховых газов. При определении величины заряда рекомендуем ориентироваться на заряды с полиэтиленовыми пыжами-обтюраторами. Гильзы патрона заделывать способом завальцовка. Пуля Кислина в значительной степени превосходит остальные модели пуль, доступные охотникам по соотношению цены-качество. Начальная скорость пули 410 м/с при максимальном давлении пороховых газов не более 740 бар. К недостаткам многих пуль следует отнести способность легко рикошетировать, в особенности от сравнительно твердых предметов, таких как стволы и ветви деревьев, лед, мерзлая земля и т.п. Этот недостаток в большей мере устранен в патронах с пулей Кислина.
    Основные показатели: сильное останавливающее действие; надежность поражения цели до 100 м; поперечник рассеивания на 50 м не более 10 см; свободное прохождение чоков и возможность стрелять в густых зарослях. Пуля пригодна для охоты на крупного зверя: лося, медведя, кабана и др.

    ИНСТРУКЦИЯ ПО СНАРЯЖЕНИЮ ПУЛИ КИСЛИНА (ПК-1) С РАЗДЕЛЕННЫМ ПОРОХОВЫМ ЗАРЯДОМ

    Простое снаряжение высокоскоростных патронов калибра 12/70 с антирикошетной пулей Кислина в пластмассовые или бумажные гильзы калибра 12/70 : пуля Кислина досылается прямо на разделенный пороховой заряд , состоящего из пороха 'Сокол'. Масса первой части порохового заряда 1,8 г. Масса второй части порохового заряда 0,9 г. Общая масса порохового заряда 2,7 г.Пороховой заряд разделяется картонной прокладкой с центральным отверстием диаметром 1,8 мм. Толщина прокладки 1,5 мм. Наружный диаметр прокладки (19,0-19,2) мм. Вес пули 12-го калибра - 33 г, причем 5 г приходятся на пластмассовый пыж-стабилизатор, а остальное на стальной поражающий сердечник. Гильзы патрона заделывать способом завальцовка. Пули Кислина при снаряжении с разделенным пороховым зарядом в значительной степени превосходит остальные модели пуль, доступные охотникам по соотношению цены-качество и начальной скорости полета пули. Начальная скорость пули 500 м/с при максимальном давлении пороховых газов не более 740 бар. К недостаткам многих пуль следует отнести способность легко рикошетировать, в особенности от сравнительно твердых предметов, таких как стволы и ветви деревьев, лед, мерзлая земля и т.п. Этот недостаток в большей мере устранен в патронах с пулей Кислина.
    Основные показатели: сильное останавливающее действие; надежность поражения цели до 100 м; большая дальность прямого выстрела; поперечник рассеивания на 50 м не более 10 см; свободное прохождение чоков и возможность стрелять в густых зарослях. Пуля пригодна для охоты на крупного зверя: лося, медведя, кабана и др
     
  20. kwsp

    kwsp
    Сергей
    Москва - Пермский край. Ветеран

    Регистрация:
    25.01.17
    Сообщения:
    1.442
    Рейтинг:
    5.652
    Благодарности:
    2.771
    Адрес:
    Москва - Пермский край.
    Собаки:
    Рорс
    Оружие:
    12 клб.
    Пока, что разговор о пуле "Обь" в практическом потребительском плане абстрактный. Она должна быть предложена для продажи, как готовый снаряд со своей ценой и каналом поступления в продажу. Это все еше планы.

    О каких отдельных сердечниках может идти речь здесь? Все, что есть в продаже из пыжей-контейнеров, что российского, что иностранного, сюда не подойдет (есть описание пулевого снаряда Обь, где все это видно).

    Произвольное втыкание самой пули в пластик чревато для канала ствола и небезопасно для стрелка. Я уже приводил пример с контактом стального ролика у пулевого снаряда Тандем с каналом, там он повредил ствол дорого ружья (подтверждено было судом). Хотя этот ролик сидел в контейнере, так, что вытащить его можно было только разрезав пластик.

    Сейчас мода какая-то пошла - пули посыпались как из табакерки и в большинстве своем без стабилизаторов и оболочек, в лучшем случае вставляются в дробовые пыжи или прикручиваются саморезами в пыжи БИО. Пулю Полева, что то никто не догадался еще засунуть туда же, полетела бы она то же, но уже не как Полева.

    Ждем Обь, не в виде патента, а в виде товара. По описанию вариант неплохой.
     
Наверх
;