Войти
Вход на сайт
Вход через социальную сеть

Капсюль-воспламенитель: виды, применение, устройство и...

Тема в разделе "Патроны", создана пользователем ВахТанк, 26 фев 2021.

  1. kislin69

    kislin69
    Михаил
    Новичок

    Регистрация:
    04.11.20
    Сообщения:
    37
    Рейтинг:
    26
    Благодарности:
    13
    Представленный капсюль-воспламенитель называется КВБ. Буква Б обозначает то,что он имеет трехлепестковую наковаленку похожую как у капсюля-воспламенителя типа Боксер. Для понимания его конструкции можно представить себе капсюль Жевело у которого оболочка имеет отверстие диаметром равным диаметру расположенного в ней колпачка с ударно-воспламенительным составом.
     

    Вложения:

    • zhevelo.jpg
      zhevelo.jpg
      Размер файла:
      29,5 КБ
      Просмотров:
      454
  2. kislin69

    kislin69
    Михаил
    Новичок

    Регистрация:
    04.11.20
    Сообщения:
    37
    Рейтинг:
    26
    Благодарности:
    13
    Представленный капсюль патент 2256148 называется КВБ. Буква Б означает, что в нем применена трехлепестковая наковаленка типа Боксер. Оболочка капсюля похожа на оболочку капсюля КВ-22, КВ-21 и КВ-209 только края оболочки загнуты вовнутрь капсюля с определенным радиусом.
     
  3. kislin69

    kislin69
    Михаил
    Новичок

    Регистрация:
    04.11.20
    Сообщения:
    37
    Рейтинг:
    26
    Благодарности:
    13
    С №2585092 2015 год капсюлированная гильза [​IMG]

    Создана в 2015 году конструкция капсюлированной гильзы к нарезному оружию с капсюлем-воспламенителем типа «Бердан», которая обеспечивает более высокую надежность и чувствительность срабатывания капсюля-воспламенителя, а также уменьшает время от момента удара бойка по капсюлю-воспламенителю до срабатывания капсюля-воспламенителя за счет обеспечения минимально возможной величины расстояния от вершины наковаленки до герметизирующей мембраны на воспламенительном составе ударного действия. В данной конструкции капсюлированной гильзы для патронов стрелкового оружия, состоящей из гильзы и запрессованного в нее капсюля-воспламенителя типа «Бердан», состоящего из металлического колпачка с запрессованным в него воспламенительным составом ударного действия, покрытого герметизирующей мембраной, вершина наковаленки гильзы углублена в капсюльном гнезде гильзы относительно торца шляпки гильзы на величину «Д», равную величине «С» максимальной высоты воспламенительного состава ударного действия с герметизирующей мембраной, плюс на величину толщины стенки металлического колпачка и плюс на величину «Н», заданную на патрон углублению капсюля-воспламенителя типа «Бердан» относительно торца шляпки гильзы, при этом величина «А» глубины капсюльного гнезда равна величине «В» высоты металлического колпачка с учетом допуска плюс величина «Н», заданная на патрон по углублению капсюля-воспламенителя типа «Бердан» относительно торца шляпки гильзы. Т.е. должны выполняться две формулы: «А»=«В»+«Н» и «Д»=«С»+«Н». Такое выполнение капсюлированной гильзы по повышает надежность срабатывания капсюля-воспламенителя, повышает чувствительность и стабильность срабатывания капсюля-воспламенителя в составе гильзы.
















    С №2613395 2016 год с наковаленкой в виде

    шарика

    [​IMG]

    Создана и обоснована простая конструкция капсюлированной

    гильзы, в которой обеспечивается за счет смены конструктивного элемента более высокая надежность и чувствительность срабатывания капсюля-воспламенителя, а также уменьшение времени от момента удара бойка по капсюлю-воспламенителю до срабатывания капсюля-воспламенителя. В конструкции капсюлированной гильзы для патронов стрелкового оружия, состоящей из гильзы и запрессованного в нее капсюля-воспламенителя, состоящего из металлического колпачка с запрессованным в него воспламенительным составом ударного действия, покрытого герметизирующей мембраной вместо трехлепестковой наковаленки, применен в качестве нее металлический шарик, который одним боком примыкает к герметизирующей мембране, а другим боком примыкает к дну капсюльного отверстия, частично помещаясь внутрь центрального отверстия в дне капсюльного гнезда, которое имеет такой диаметр, что он углублен в капсюльном гнезде относительно торца шляпки гильзы на величину «Д», равную величине «С» максимальной высоты воспламенительного состава ударного действия с герметизирующей мембраной, плюс на величину толщины стенки металлического колпачка и плюс на величину «Н», заданную на патрон по углублению капсюля-воспламенителя относительно торца шляпки гильзы для недопущения инерционного накола, при этом величина «А» глубины капсюльного гнезда равна величине «В» высоты металлического колпачка с учетом допуска плюс величина «Н», заданная на патрон по углублению капсюля-воспламенителя относительно торца шляпки гильзы для исключения инерционного накола (т.е должны выполняться две формулы: «А»=«В»+«Н» и «Д»=«С»+«Н»).


    С №2598257 2015 год капсюлированная

    гильза для комбинированных

    ружей (один ствол гладкий,

    другой-нарезной)

    Создана и обоснована конструкция капсюлированной гильзы для нарезного и гладкоствольного патрона для комбинированных ружей со сменными парами стволов, имеющуя одну и ту чувствительность инициирования капсюля-воспламенителя к удару бойка ружья.

    В новой конструкции капсюлированной гильзы все геометрические размеры и марка металла металлического колпачка, марка, масса воспламенительного состава ударного действия и его конфигурация его запрессовки идентичны как для нарезного патрона, так и для гладкоствольного патрона как с металлической, так и с пластмассовой (или бумажной) гильзой, при этом конструкция капсюлированной пластмассовой или бумажной гильзы содержит дополнительную оболочку капсюля-воспламенителя в виде тонкостенного цилиндра с фланцем на торце цилиндра с изгибом стенки цилиндра с другого торца на 180° вовнутрь с радиусом на 0,1-0,15 мм больше половины толщины стенки колпачка, а длина цилиндра выбрана такой, чтобы трехлепестковая куполообразная наковаленка своим основанием упиралась во внутренний изгиб торца цилиндра.


    С 2580544 2005 год Способ изготовления капсюлей –

    воспламенителей типа «Боксер»

    [​IMG]

    В 2005 году предложена формы наковаленки, допускающей наиболее простое и экономичное изготовление; упрощение и уменьшение трудоемкости способа изготовления капсюлей-воспламенителей типа «BOXER» с высокими потребительскими свойствами. Также достигнуто меньшение расхода материала при изготовлении. Техническое исполнение заключается в том, что лепестковая наковаленка для капсюля-воспламенителя имеет три лепестка с отношением радиуса «R» наковаленки к ее высоте Н равным 1,0±0,2 и изготавливается методом совмещения операций вырубки и свертки детали на одноместном штампе, установленном на прессе, из металлической ленты с временным сопротивлением не более 45 кгс/мм2 за один ход пресса с использованием пуансона и матрицы, при этом усилие пресса на одно гнездо штампа должны быть не меньше произведения площади среза лепесковой наковаленки умноженной на временное сопротивление металлической ленты. Предлагаемый способ изготовления капсюлей-воспламенителей типа «BOXER» как один из вариантов предполагает то, что в качестве ленты, из которой изготавливаются наковаленки, применена латунная лента по ГОСТ 2208-91 с временным сопротивлением (30-42) кгс/мм2. Именно выбор одноместного штампа и относительно мягкого материала металлической ленты для изготовления на нем наковаленок капсюля-воспламенителя обеспечивает высокую точность геометрических размеров наковаленок в течение длительного времени работы штампа. Это особенно важно для сохранения стабильной высоты наковаленки. Наковаленки с завышенной высотой «Н» приводят к недопустимому внедрению наковаленки в ударный состав, срабатыванию состава, выходу пресс-инструмента из строя и остановке процесса сборки капсюлей на ремонтно-профилактические работы.
     
  4. kislin69

    kislin69
    Михаил
    Новичок

    Регистрация:
    04.11.20
    Сообщения:
    37
    Рейтинг:
    26
    Благодарности:
    13
    Патроны с улучшенной системой воспламенения порохового заряда и с повышенной безотказностью срабатывания (класс В)

    В №2596230 2015 год патрон с

    унифицированным капсюльным

    гнездом[​IMG]

    Разработана и обоснована новая технологичная конструкция патрона для стрелкового оружия с меньшей себестоимостью для большой группы различных модификаций патронов, которые имеют массу воспламенительного состава ударного действия в диапазоне от 22 мг до 30 мг, например: стандартные пистолетные патроны, патрон 9×19; пистолетные патроны «Magnum»; стандартные винтовочные патроны; патрон калибра 5,56 мм; винтовочные патроны «Magnum»; стандартные винтовочные патроны; патрон калибра 7,62 мм; винтовочные патроны «Magnum»; патроны 338 Lapua Magnum; 30-06 SPRG Барнаульского патронного завода; 308 WIN (7.62×51) Барнаульского патронного завода; 5.56×45 НАТО; 454 CASUL СВС.






    В №2005985 1990 год с системой

    воспламенения

    [​IMG]

    Создан и обоснован патрон , в котором при срабатывании капсюля-воспламенителя 2 продукты его сгорания поступают в полость стакана 6, в которой находится часть порохового заряда 3, и воспламеняют его. От образовавшихся продуктов сгорания резко возрастает давление в полости стакана и они через отверстия 8 истекают в полость, где размещена остальная часть заряда 3. Поскольку отверстия 8 находятся у глухого торца, течение газа осуществляется преимущественно над поверхностью заряда 3. Нарастающим давлением в области течения производятся поджатие заряда 3 к донной части патрона и одновременное его зажигание. Дальнейшее нарастание давления приводит к раскрытию закатки патрона, после чего начинается перемещение дробового снаряда 5 по стволу оружия. Поскольку навеска пороха была предварительно поджата, увеличение объема не приводит к ее разбрасыванию, что позволяет существенно сократить время распространения пламени по зернам порохового заряда 3 и ускорить ее сжигание. В результате улучшаются такие показатели эффективности действия патрона, как дульное давление, начальная скорость дробового снаряда, время выстрела, отдача оружия, а также улучшаются стабильность и воспроизводимость этих показателей






    Капсюлированные гильзы повышающие безотказность

    срабатывания патрона в нарезном и гладкоствольном оружии (класс С)

    С №2525595 2013 год

    [​IMG]Создана и обоснована конструкция капсюлированной гильзы, в которой отсутствует оболочка капсюля-воспламенителя сложной формы, а ее роль выполняет само капсюльное гнездо гильзы и специальный кольцевой выступ, расположенный в капсюльном гнезде гильзы, при этом внутри колпачка воспламенителя размещена трехлепестковая наковаленка куполообразной формы, которая вершиной своего купола плотно соприкасается с герметизирующей мембраной, а основания лепестков упираются во внутреннюю стенку колпачка капсюля-воспламенителя и плотно соприкасаются со специальным кольцевым выступом, расположенным в капсюльном гнезде гильзы, а диаметр кольцевого выступа меньше диаметра капсюльного отверстия на величину учетверенной толщины стенки колпачка капсюля-воспламенителя плюс 0,15 мм. Такое выполнение конструкции капсюлированной гильзы и выбор ее геометрических размеров позволяют при запрессовке капсюля-воспламенителя в капсюльное гнездо опереть наковаленку на специальный кольцевой выступ в отсутствии упора торца колпачка капсюля-воспламенителя на специальный кольцевой выступ. В этом случае конструкция капсюлированной гильзы имеет на одну деталь меньше.
     
  5. evme

    evme
    Евгений
    Алтайский край, Барнаул Бывалый

    Регистрация:
    24.03.19
    Сообщения:
    362
    Рейтинг:
    760
    Благодарности:
    380
    Адрес:
    Алтайский край, Барнаул
    Собаки:
    Лайка
    Оружие:
    ИЖ-27м, ИЖ-58м, ИЖ-18ем, ТОЗ-78, Вепрь 7,62х39, Барс 4-1 223 REM
    Слишком много букв...
     
  6. bkm455

    bkm455
    Василий
    Томск Ветеран

    Регистрация:
    21.08.13
    Сообщения:
    4.383
    Рейтинг:
    5.370
    Благодарности:
    2.582
    Адрес:
    Томск
    Оружие:
    аерсенал Фабарм Элос 12/76.Вепрь 223rem ИЖ-27 12к. ИЖ-18МН 223rem-12/76 sporting.ИЖ-18 32к.
    И где же на данный момент данный капсюль???
    так в виде патента и остался???
    почему его нет на прилавках магазинов???
     
    L~HUNTER нравится это.
  7. kwsp

    kwsp
    Сергей
    Москва - Пермский край. Ветеран

    Регистрация:
    25.01.17
    Сообщения:
    1.444
    Рейтинг:
    5.660
    Благодарности:
    2.775
    Адрес:
    Москва - Пермский край.
    Собаки:
    Рорс
    Оружие:
    12 клб.
    До недавнего времени пока не было прямого указания в законе о запрете свободной продажи капсюлей их можно было приобрести в десятке интернет магазинов. Сейчас это запрещено. И выбор капсюлей на большей части России невелик. Следует учесть, что капсюль требует и соответствующей гильзы. Если Жевело или КВ 21, то для него единственный вариант это гильзы Рекорд в 12. 16 и 20 калибрах. Отобрать под Жевело стреляные гильзы тоже трудно. Остается 209 и импорт (Италия, Франция) - так называемые еврокапсюля, то тут хоть с гильзами нет проблем. А связка Жевело и порох Сокол неплохая. Так как Жевело цилиндр, в отличие от 209 на нем нет на конце конуса, облегчающего вставку в гнездо, то капсюлировать им труднее + внутреннее отверстие Жевело открыто, в отличие от 209, который залит лаком. Поэтому Жевело требует более щадящих условий хранения. Хотя у меня были Жевело с 10 летним сроком после выпуска и работали безупречно.
     
    Кандагач и L~HUNTER нравится это.
  8. Sanek_s_mc

    Sanek_s_mc
    Александр
    Алтайский край Ветеран

    Регистрация:
    31.10.18
    Сообщения:
    1.278
    Рейтинг:
    5.103
    Благодарности:
    2.342
    Адрес:
    Алтайский край
    Собаки:
    Был РОС
    Оружие:
    Мц 21-12, Тоз-34, МР-155
    Ну почему только Рекорд. Есть ещё и наверное у многих охотников на руках запасы гильз позис, полиекс, байкал и азот под жевело.
    Осенью расстрелял из Тоз-34, доставшиеся по случаю от старого охотника, жаль коробочки не сфотографировал... жевело штук 30 в коробочке ватка снизу,и сверху капсюлей и бумажка упаковщица.... или смена..... и 08.1972год.
    И центробой примерно 200-250, эти 09.1958 ни одного ..пшика.. или затяжного выстрела (гильзы правда под ЦБ мои, отобранные и без разбитых гнёзд и наковален)
    Капсюля у него хранились в гараже.
     
    Кандагач и L~HUNTER нравится это.
  9. ВахТанк

    ВахТанк
    Игорь
    Новосибирск Ветеран

    Регистрация:
    12.10.11
    Сообщения:
    5.425
    Рейтинг:
    6.836
    Благодарности:
    3.397
    Адрес:
    Новосибирск
    Собаки:
    нет, к сожалению
    Оружие:
    гладкое
    @bkm455, Василий, так нет уже этих постов в теме... куда то делись...
    Михаил Александрович в своем репертуаре... не будет ответа на твои вопросы.

    Почему то, вспомнил анекдот...
    На презентации книги один возбужденный читатель спрашивает автора:
    - Вы сами то читали что Вы там понаписали?
    - Я не читатель, я писатель.

    так и здесь... главное патент...8)
    а наивный потребитель ждет его логическое завершение :-\
     
    Последнее редактирование: 3 мар 2021
  10. kislin69

    kislin69
    Михаил
    Новичок

    Регистрация:
    04.11.20
    Сообщения:
    37
    Рейтинг:
    26
    Благодарности:
    13
    Уважаемый Игорь в материалах патента 2256148 проанализированы недостатки существующих капсюлей-воспламенителей типа КВ-22, КВ-21 и КВ-209 (плоская наковаленка), а также ЖЕВЕЛО (куполообразная наковаленка). И это, конечно, полезно для данной открытой темы. Надеюсь, что охотники смогут в будущем использовать этот капсюль-воспламенитель в своих патронах. С уважением
     
  11. kislin69

    kislin69
    Михаил
    Новичок

    Регистрация:
    04.11.20
    Сообщения:
    37
    Рейтинг:
    26
    Благодарности:
    13
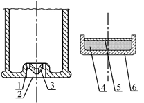
    С момента изобретения унитарного патрона, капсюль-воспламенитель является его неотъемлемой частью. Капсюли-воспламенители делятся на два типа: первый – открытого тип, для которых наковальня делается в капсюльном гнезде гильзы. Эти капсюли состоят только из колпачка, инициирующего соства и герметизирующей инициирующий состав прокладки.


    [​IMG]

    Рис. 1. Капсюль-воспламенитель открытого типа и гильза для него. 1 – отверстия, соединяющие ударно-воспламенительный состав и пороховой заряд; 2 – посадочное место капсюля-воспламенителя: 3 – наковаленка; 4 – ударно-воспламенительный состав; 5 - защитное покрытие (герметизирующая прокладка); 6 – корпус капсюля-воспламенителя.


    Второй – закрытого типа, состоящие из оболочки, колпачка, инициирующегосостава, герметизирующей прокладки и имеющие внутреннюю наковальню. Копсюль-воспламенитель второго типа был разарботан позже первого и имеет рад приемуществ, а именно: выше чувствительность к удару бойка, более стабилен и безотказен, рассчитан на применение с бездымным порохом. Такими КВ являются: «Жевело», «Боксер», «Винчестер» и его аналог- КВ-22.Володя. Прокладка делается из фольги, но не из свинца


    [​IMG]

    Рис. 2. Устройство капсюля-воспламенителя второго типа. 1 – оболочка; 2 – колпачек ; 3 – ударно-воспламенительный состав; 4 – наковаленка; 5 – отверстие, соединяющие ударно-воспламенительный состав и пороховой заряд.


    Существенными недостатками капсюлей-воспламенителей второго типа являются большие допуски изготовления деталей, особенно наковаленки и оболочки. Отклонения внутреннего диаметра оболочки и габаритов наковаленки в пределах технологического допуска влекут потерю центрации наковаленки. Наковаленка и боек бьют по ударно-воспламенительному составу не соосно и УВС не получает нужной величины импульса на единицу площади, что приводит к его замедленному инициированию или к полному не срабатыванию УВС. Это за собой приводит к не срабатыванию патрона, или медленному воспламенению и горению порохового заряда- затяжной выстрел.

    Для того, чтобы исключить недостатки капсюлей-воспламенителей перечисленные выше, предложена модернизированная конструкция капсюля-воспламенителя “Жевело” ГОСТ 24579-81, защищенная патентом РФ № 2256148 [1]. В новом капсюле-воспламенителе «КВ-Б» (рис. 2) наковаленка 3 в потай запрессована внутрь колпачка 1, а оболочка 2 выполнена в виде тонкостенного цилиндра с фланцем на торце которого со стороны дна запрессован колпачок с изгибом стенки цилиндра на 180° с радиусом на 0,10 - 0,15 мм больше половины толщины стенки колпачка.
     
  12. kislin69

    kislin69
    Михаил
    Новичок

    Регистрация:
    04.11.20
    Сообщения:
    37
    Рейтинг:
    26
    Благодарности:
    13
  13. ВахТанк

    ВахТанк
    Игорь
    Новосибирск Ветеран

    Регистрация:
    12.10.11
    Сообщения:
    5.425
    Рейтинг:
    6.836
    Благодарности:
    3.397
    Адрес:
    Новосибирск
    Собаки:
    нет, к сожалению
    Оружие:
    гладкое
    Странно... думаю, куда посты КМА делись... а они у меня в игнор попали, почему то...
    Сейчас уже все вижу, но... блин, кто нибудь прочитал их полностью?
     
    Мухомор нравится это.
  14. ВахТанк

    ВахТанк
    Игорь
    Новосибирск Ветеран

    Регистрация:
    12.10.11
    Сообщения:
    5.425
    Рейтинг:
    6.836
    Благодарности:
    3.397
    Адрес:
    Новосибирск
    Собаки:
    нет, к сожалению
    Оружие:
    гладкое
    Это прекрасно.
    Как далеко это будущее?
     
  15. kislin69

    kislin69
    Михаил
    Новичок

    Регистрация:
    04.11.20
    Сообщения:
    37
    Рейтинг:
    26
    Благодарности:
    13
    @ВахТанк, Надеюсь не далеко. С уважением
     
  16. ngk66

    ngk66
    Дмитрий
    Екатеринбург Бывалый

    Регистрация:
    16.01.16
    Сообщения:
    308
    Рейтинг:
    192
    Благодарности:
    96
    Адрес:
    Екатеринбург
    Собаки:
    нет
    Оружие:
    Мр 79-9тм, иж58мае12к, Сайга 410, ЗК-16к. Лось 9-1 к 9.3х64
    Просто КВБ и всё ?
     
  17. Sanek_s_mc

    Sanek_s_mc
    Александр
    Алтайский край Ветеран

    Регистрация:
    31.10.18
    Сообщения:
    1.278
    Рейтинг:
    5.103
    Благодарности:
    2.342
    Адрес:
    Алтайский край
    Собаки:
    Был РОС
    Оружие:
    Мц 21-12, Тоз-34, МР-155
    Звиняйте шо маненько не в тему, но рядом таки. ;)
    Где втариться капсюлями ..евро.. типа и жевело или кв-21. Чем дешевле, тем лучще (можно, даже желательно в личных сообщениях). 8)
    Ормаги с их ..гуманными.. 4.80 за 209й и 6.00 за жевело не предлогать.
    Имееются замыслы приобресть
    сх2000 ~ 2.5р
    Кв-21 ~ 3рэ
    Может есть дешевле <:-( планируется к приобретению тыщь несколько... обеих видов.
     
    Последнее редактирование: 1 июл 2021
    Кандагач нравится это.
  18. L~HUNTER

    L~HUNTER
    Александр
    Новосибирск Ветеран

    Регистрация:
    17.08.17
    Сообщения:
    2.751
    Рейтинг:
    6.707
    Благодарности:
    3.349
    Адрес:
    Новосибирск
    Оружие:
    ИЖ-27, ТОЗ-34Р, МР-161
    @Sanek_s_mc, до введения ограничений можно было тариться через интернет-магазины, сейчас даже в ормагах требуют РОХу и записывают в журнал.
     
    Кандагач нравится это.
  19. Gennadij13

    Gennadij13
    Королёв Ветеран

    Регистрация:
    20.07.16
    Сообщения:
    970
    Рейтинг:
    962
    Благодарности:
    481
    Адрес:
    Королёв
    Оружие:
    ТОЗ 120 М 1
    @Sanek_s_mc, нет таких цен.самые дешевые темпе климовск.а дальше каждый прибавляет сколько хочет.
     
  20. L~HUNTER

    L~HUNTER
    Александр
    Новосибирск Ветеран

    Регистрация:
    17.08.17
    Сообщения:
    2.751
    Рейтинг:
    6.707
    Благодарности:
    3.349
    Адрес:
    Новосибирск
    Оружие:
    ИЖ-27, ТОЗ-34Р, МР-161
    О ценах: в Нске по ормагам Центробой уже по 2,5₽
     
    Кандагач нравится это.
Наверх
;