Войти
Вход на сайт
Вход через социальную сеть

Простейший пулевой патрон сделанный "на коленке"

Тема в разделе "Патроны", создана пользователем Otstoy, 8 ноя 2013.

  1. sergey.sholukhov

    sergey.sholukhov
    шолухов сергей альбертович
    новосибирск Ветеран

    Регистрация:
    19.02.13
    Сообщения:
    2.823
    Рейтинг:
    1.494
    Благодарности:
    747
    Адрес:
    новосибирск
    Оружие:
    мц-20-01; сайга 410к
    читал "сказку" о елизаветинских временах. так там для ускорения заряжания ружей и улучшения качества стрельбы к пуле войлочный пыж крепили.
    пуля полева в принципе тоже самое.
    как проще отлить головку с хвостовиком для насадки войлока?
     
  2. Любитель-04

    Любитель-04
    Сергей
    Г-Алтай Ветеран

    Регистрация:
    17.02.13
    Сообщения:
    2.138
    Рейтинг:
    1.184
    Благодарности:
    504
    Адрес:
    Г-Алтай
    Оружие:
    МЦ20-01 МЦ21-12 МР18МН 7.62Х51
    Пуля ,,Бненеке" тоже ,,тоже самое" я делал не хвостовик, а направляющее отверстие для самореза. Но нужна ещё приспасоба для пробивания точного отверстия в пыжах. Без неё получаются кривые пули и летят они тоже криво :)
     
  3. bkm455

    bkm455
    Василий
    Томск Ветеран

    Регистрация:
    21.08.13
    Сообщения:
    4.383
    Рейтинг:
    5.368
    Благодарности:
    2.581
    Адрес:
    Томск
    Оружие:
    аерсенал Фабарм Элос 12/76.Вепрь 223rem ИЖ-27 12к. ИЖ-18МН 223rem-12/76 sporting.ИЖ-18 32к.
    Помнитсяеще когда был пацаном мой батя за 3 минуты на коленке собрал два пулевых патрона из роликов от подшипника . из латунок высыпал дробь в инструменте нашёл пару роликов обматал мазутной тряпкой зарядил и готово. На 50 м по кабану отработали отлично.
     
    Vladimir54 нравится это.
  4. sergey.sholukhov

    sergey.sholukhov
    шолухов сергей альбертович
    новосибирск Ветеран

    Регистрация:
    19.02.13
    Сообщения:
    2.823
    Рейтинг:
    1.494
    Благодарности:
    747
    Адрес:
    новосибирск
    Оружие:
    мц-20-01; сайга 410к
    втом то и проблема - центрация. залить свинцом саморез и на него накручивать войлок просто. как саморез отцентрировать для повторяемости?
     
  5. Лексеич

    Лексеич
    Михаил
    Новосибирск Ветеран

    Регистрация:
    26.03.10
    Сообщения:
    5.005
    Рейтинг:
    5.592
    Благодарности:
    2.764
    Адрес:
    Новосибирск
    Оружие:
    МЦ 20-01, Сайга 410, Сайга 20. было: ИЖ-43 (16 к), МЦ 20-01 (исчо одно), МР 27М 20х76
    Надо сделать отверстие в центре задницы пули, под саморез. Прикрутить войлок, лист. Взять трубку с внутренним диаметром по внешнему диаметру пули, надеть на пулю со стороны морды, и отсечь лишний войлок.
    Как идея?
     
  6. sergey.sholukhov

    sergey.sholukhov
    шолухов сергей альбертович
    новосибирск Ветеран

    Регистрация:
    19.02.13
    Сообщения:
    2.823
    Рейтинг:
    1.494
    Благодарности:
    747
    Адрес:
    новосибирск
    Оружие:
    мц-20-01; сайга 410к
    переточить 16-миллиметровую на нож.

    пуля якана
     

    Вложения:

  7. Лексеич

    Лексеич
    Михаил
    Новосибирск Ветеран

    Регистрация:
    26.03.10
    Сообщения:
    5.005
    Рейтинг:
    5.592
    Благодарности:
    2.764
    Адрес:
    Новосибирск
    Оружие:
    МЦ 20-01, Сайга 410, Сайга 20. было: ИЖ-43 (16 к), МЦ 20-01 (исчо одно), МР 27М 20х76
    Как этот струмент называется?
     
  8. sergey.sholukhov

    sergey.sholukhov
    шолухов сергей альбертович
    новосибирск Ветеран

    Регистрация:
    19.02.13
    Сообщения:
    2.823
    Рейтинг:
    1.494
    Благодарности:
    747
    Адрес:
    новосибирск
    Оружие:
    мц-20-01; сайга 410к
    кольцевое сверло для листовых материалов (гипсокартон, дсп и пр.)
     
  9. Юрий_Ник72

    Юрий_Ник72
    Юрий
    Бердюжье Активист

    Регистрация:
    18.12.14
    Сообщения:
    201
    Рейтинг:
    118
    Благодарности:
    59
    Адрес:
    Бердюжье
    Собаки:
    --------
    Оружие:
    МЦ 21-12 1999 г.в. с насадками - было , Фаусти Элегант 12х76х760 , 2013 г.в.
    Как-то все сложно у вас расписано. У меня раньше была пулелейка из бронзы вроде , на ней с нижней стороны проточка под пыж из валенка , вкручивал саморез в пыж , вставлял в пулелейку и заливал свинцом , потом вытряхивал готовую пулю и все дела :smoke:
     
  10. Лексеич

    Лексеич
    Михаил
    Новосибирск Ветеран

    Регистрация:
    26.03.10
    Сообщения:
    5.005
    Рейтинг:
    5.592
    Благодарности:
    2.764
    Адрес:
    Новосибирск
    Оружие:
    МЦ 20-01, Сайга 410, Сайга 20. было: ИЖ-43 (16 к), МЦ 20-01 (исчо одно), МР 27М 20х76
     
  11. sergey.sholukhov

    sergey.sholukhov
    шолухов сергей альбертович
    новосибирск Ветеран

    Регистрация:
    19.02.13
    Сообщения:
    2.823
    Рейтинг:
    1.494
    Благодарности:
    747
    Адрес:
    новосибирск
    Оружие:
    мц-20-01; сайга 410к
    а что, рабочий вариант.
     
  12. sergey.sholukhov

    sergey.sholukhov
    шолухов сергей альбертович
    новосибирск Ветеран

    Регистрация:
    19.02.13
    Сообщения:
    2.823
    Рейтинг:
    1.494
    Благодарности:
    747
    Адрес:
    новосибирск
    Оружие:
    мц-20-01; сайга 410к
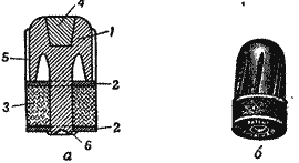
    Почитал. Из прочитанного выходит:
    Голова типа якана не подходит для пули с войлоком . слишком легкая голова из-за выемки. И в купе с хвостовиком свицовым центр тяжести уходит назад. Пуля получается склонной к кувырканию, особенно при касании веток и пр.
    У бренеке голова цельная и винт крепежный легче. Центр тяжести впереди, значит не кувыркается если собрана соосно.
    Войлок винтом или заклепкой сдавливается и теряет аморзатизонные свойства. Пуля ставится на основной пыж, а не вместо него.
    Войлок притормаживает пулю выступая за её края. В моем случае с головкой типа Е, есть смысл прорезать продолжение ребер по войлоку. Подклеить его, чтоб не провернулся. Или лить цилиндрик с пояском.
     
  13. Любитель-04

    Любитель-04
    Сергей
    Г-Алтай Ветеран

    Регистрация:
    17.02.13
    Сообщения:
    2.138
    Рейтинг:
    1.184
    Благодарности:
    504
    Адрес:
    Г-Алтай
    Оружие:
    МЦ20-01 МЦ21-12 МР18МН 7.62Х51
    ,,Дырокол" для пыжа все равно нужен. От руки прикрутить точно не возможно.
     
  14. Лексеич

    Лексеич
    Михаил
    Новосибирск Ветеран

    Регистрация:
    26.03.10
    Сообщения:
    5.005
    Рейтинг:
    5.592
    Благодарности:
    2.764
    Адрес:
    Новосибирск
    Оружие:
    МЦ 20-01, Сайга 410, Сайга 20. было: ИЖ-43 (16 к), МЦ 20-01 (исчо одно), МР 27М 20х76
    Сергей, ну ты чё?
     
  15. Любитель-04

    Любитель-04
    Сергей
    Г-Алтай Ветеран

    Регистрация:
    17.02.13
    Сообщения:
    2.138
    Рейтинг:
    1.184
    Благодарности:
    504
    Адрес:
    Г-Алтай
    Оружие:
    МЦ20-01 МЦ21-12 МР18МН 7.62Х51
    Миш, ты сможешь держать трубку-высечку однообразно вертикально ? Я нет. И сверлить светлом предложенным Альбертычем можно только в сверлильном станке. :-\ а в дыроколе хоть сто, хоть в сто раз больше обсолютно одинаковых пыжей сделать можно.
     
  16. sergey.sholukhov

    sergey.sholukhov
    шолухов сергей альбертович
    новосибирск Ветеран

    Регистрация:
    19.02.13
    Сообщения:
    2.823
    Рейтинг:
    1.494
    Благодарности:
    747
    Адрес:
    новосибирск
    Оружие:
    мц-20-01; сайга 410к
    есть станина для дрели. а если нет ни лишнее её прикупить, оно стоит того в хозяйстве.
     
    Лексеич нравится это.
  17. sergey.sholukhov

    sergey.sholukhov
    шолухов сергей альбертович
    новосибирск Ветеран

    Регистрация:
    19.02.13
    Сообщения:
    2.823
    Рейтинг:
    1.494
    Благодарности:
    747
    Адрес:
    новосибирск
    Оружие:
    мц-20-01; сайга 410к
    пока сделаю в гильзе ос осы.
    потом закажу такое.
    да еще в болте отверстие на 2 продольное, сквозное. для соосности крепежного отверстия.
     

    Вложения:

  18. Лексеич

    Лексеич
    Михаил
    Новосибирск Ветеран

    Регистрация:
    26.03.10
    Сообщения:
    5.005
    Рейтинг:
    5.592
    Благодарности:
    2.764
    Адрес:
    Новосибирск
    Оружие:
    МЦ 20-01, Сайга 410, Сайга 20. было: ИЖ-43 (16 к), МЦ 20-01 (исчо одно), МР 27М 20х76
    Шикарная весчь.
    А что это?
     
  19. sergey.sholukhov

    sergey.sholukhov
    шолухов сергей альбертович
    новосибирск Ветеран

    Регистрация:
    19.02.13
    Сообщения:
    2.823
    Рейтинг:
    1.494
    Благодарности:
    747
    Адрес:
    новосибирск
    Оружие:
    мц-20-01; сайга 410к
    форма отливки головки пули. :D %)
     
  20. Лексеич

    Лексеич
    Михаил
    Новосибирск Ветеран

    Регистрация:
    26.03.10
    Сообщения:
    5.005
    Рейтинг:
    5.592
    Благодарности:
    2.764
    Адрес:
    Новосибирск
    Оружие:
    МЦ 20-01, Сайга 410, Сайга 20. было: ИЖ-43 (16 к), МЦ 20-01 (исчо одно), МР 27М 20х76
    А не широковата?
     
Наверх
;