Войти
Вход на сайт
Вход через социальную сеть

Бинарный и тринарный заряд. Снаряжение патрона с разделенным зарядом.

Тема в разделе "Патроны", создана пользователем Главстрелок, 21 мар 2013.

  1. zhukun58

    zhukun58
    Бывалый

    Регистрация:
    17.08.17
    Сообщения:
    479
    Рейтинг:
    46
    Благодарности:
    23
  2. zhukun58

    zhukun58
    Бывалый

    Регистрация:
    17.08.17
    Сообщения:
    479
    Рейтинг:
    46
    Благодарности:
    23
    @zhukun58, отстрелы сделал...чуда НЕ произошло . Всё как всегда , 62м дистанция . Контейнеры в хлам, нужно скорость скинуть на 490мс. Насадка отработала хорошо, даже старые патроны с крахмалом которым осенью 3года будет раскрылись. .
     
  3. Главстрелок

    Главстрелок
    Славка
    К. К юг Ветеран

    Регистрация:
    18.11.12
    Сообщения:
    2.071
    Рейтинг:
    311
    Благодарности:
    154
    Адрес:
    К. К юг
    Собаки:
    РГ конкретные
    Оружие:
    САЙГА12 L-680 мм
    Слушай ,я тебе второй год ,рассказываю что у тебя не те пороха для тринара ...... Сам там что то снаряжает и даже не советуешься и не спрашиваешь..какие у тебя пороха сейчас ,какие сейчас контейнера ? Фото давай ,гильзы 12/76 есть ? Они могут перезаряжаться у тебя ?
     
  4. zhukun58

    zhukun58
    Бывалый

    Регистрация:
    17.08.17
    Сообщения:
    479
    Рейтинг:
    46
    Благодарности:
    23
    @Главстрелок, Пороха не причем...какая разница чем я разогнал до 550м/с . Сокол и вектан А 1. келешую, импортные патроны не стал потрошить из-за пороха. Дробь не пуля , так не может лететь...как мы хочем . Буду искать другие варианты.
     
  5. igorivanovich

    igorivanovich
    Игорь
    Сыктывкар Бывалый

    Регистрация:
    02.10.19
    Сообщения:
    290
    Рейтинг:
    28
    Благодарности:
    14
    Адрес:
    Сыктывкар
    Оружие:
    brixia 12,MP-155(Profi), Sabatti Olimpo
    @zhukun58, Осыпь у тебя нормальная. Я тоже отстреливал-проверял 2 патента. Дерь.. полное.
    Не стал стрелять все патроны (14штук сделал) . Отработали 2 варианта(собранные по старой схеме),с норм осыпью. С кольцами и крылышками. Мишени и обои закончились, стрелял по по пулевой мишеньке. Дробь в этот раз была тоже не ахти - "эверест", который мне прислали оказался мягче бийской -мерял пасатижами, да и в журнале, по которому отстреливал дробины были кубиками. Качество Эвереста падает, или бракованная партия. Пока решил дострелять Бийскую. Вечером буду собирать. Пока сезон открыт - нужно стрелять.
    К реплике Вячеслава отнесусь серьезно, считаю, что рецепт и состав пороха имеет значение, особенно при страгивании снаряда с места (самое начало движения дроби) - и зависит от нижней части засыпанного пороха.
     

    Вложения:

    Последнее редактирование: 3 фев 2020
  6. igorivanovich

    igorivanovich
    Игорь
    Сыктывкар Бывалый

    Регистрация:
    02.10.19
    Сообщения:
    290
    Рейтинг:
    28
    Благодарности:
    14
    Адрес:
    Сыктывкар
    Оружие:
    brixia 12,MP-155(Profi), Sabatti Olimpo
    Последнее редактирование: 3 фев 2020
  7. zhukun58

    zhukun58
    Бывалый

    Регистрация:
    17.08.17
    Сообщения:
    479
    Рейтинг:
    46
    Благодарности:
    23
    @igorivanovich, Это я 32гр написал. .более не заряжаю, т.к. всё дует. 20200201_192333.jpg
     
  8. zhukun58

    zhukun58
    Бывалый

    Регистрация:
    17.08.17
    Сообщения:
    479
    Рейтинг:
    46
    Благодарности:
    23
    @zhukun58, Ещё отстрелял ROTWELL MAGNUM 52ГР и 5# ихнею простую...на 62м, особой разницы не увидел . Смутные сомнения одолевают .
     
  9. xant-41

    xant-41
    андрей
    Саратовская губерня Ветеран

    Регистрация:
    25.07.13
    Сообщения:
    2.023
    Рейтинг:
    966
    Благодарности:
    483
    Адрес:
    Саратовская губерня
    Оружие:
    имеется
    По резкости что ли?
     
  10. zhukun58

    zhukun58
    Бывалый

    Регистрация:
    17.08.17
    Сообщения:
    479
    Рейтинг:
    46
    Благодарности:
    23
    @xant-41, Во всём, куча не плохая .Это насадка сработала 0.33мм. Пуля Полева 3 точнее полетела, поздно ими стрелять начал , темнеть начинало. Эллея кольца тоже хорошо отработали через неё, вообщем не зря пилил. Дробь ПРОМТЕХ барнаульская была без крахмала, мнется. Сейчас всё дробовые буду крахмалом засыпать , насадка раскрывает их хорошо . Будем тринарить и импорт хороший тестить...
     
  11. igorivanovich

    igorivanovich
    Игорь
    Сыктывкар Бывалый

    Регистрация:
    02.10.19
    Сообщения:
    290
    Рейтинг:
    28
    Благодарности:
    14
    Адрес:
    Сыктывкар
    Оружие:
    brixia 12,MP-155(Profi), Sabatti Olimpo
    Резкости, хорошей по сравнению с тринаром, не получишь, стреляя супермагнумом на 50 м, у меня #5 тринарная с #3 супермагнума по пробитию равными получались.

    Эверест сжал с бийской. Слева-эверест
     

    Вложения:

    Последнее редактирование: 4 фев 2020
  12. zhukun58

    zhukun58
    Бывалый

    Регистрация:
    17.08.17
    Сообщения:
    479
    Рейтинг:
    46
    Благодарности:
    23
    @igorivanovich, ТРИНАР есть тринар...но мороки с ним достали, может подустал уже , до осени паузу надо сделать ....
     
  13. igorivanovich

    igorivanovich
    Игорь
    Сыктывкар Бывалый

    Регистрация:
    02.10.19
    Сообщения:
    290
    Рейтинг:
    28
    Благодарности:
    14
    Адрес:
    Сыктывкар
    Оружие:
    brixia 12,MP-155(Profi), Sabatti Olimpo
    @zhukun58, Я отдохну позже - после закрытия сезона . 4 раза еще только можно мне съездить на отстрел.
    Думаю, нужно рабочие варианты добить до стабильности. С мелкой дробью получилось(№5). Сейчас №3 подогнать бы успеть и для пробы стрельнуть №1 - на резкость метров на 60, пусть 15-20 дробин в круге будет - вполне нормально накроет цель, но "эверест" подвел, к сожалению, а единичка у меня только "эверестовая". Попробую чуть мягче разгон сделать, уменьшив первую тринарную часть пороха на 0.1г, увеличив соответственоо последнюю на 0.1. Буду Вячеслава рецепт стрелять-он прислал мне готовые контейнеры , отстреляю ещё свой вариант - из переделанных Тубо и стаканов Гуаланди.
     
    Последнее редактирование: 4 фев 2020
  14. kislin65

    kislin65
    Михаил
    г. Новосибирск Ветеран

    Регистрация:
    04.01.16
    Сообщения:
    527
    Рейтинг:
    200
    Благодарности:
    100
    Адрес:
    г. Новосибирск
    Собаки:
    нет
    Оружие:
    MP-153
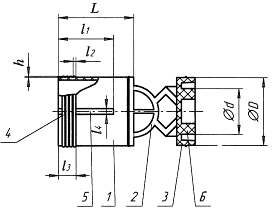
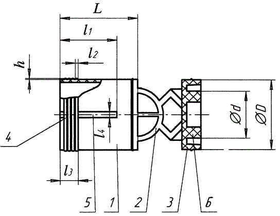
    Имеется патент 2229092

    Задачей изобретения является повышение кучности стрельбы и упрощение технологии изготовления пыжа-контейнера.

    Поставленная задача решается тем, что пыж-контейнер для дробовых снарядов содержит стаканчик для дроби, боковая стенка которого состоит из разделенных прорезями четырех лепестков, соединенных между собой перемычками, амортизатор и обтюратор. Ширина прорезей l4 составляет 1,0±0,2 мм, а длина l1 - 0,75-1,0 высоты стаканчика, перемычки, число которых составляет от 2 до 4 на каждую прорезь, равномерно расположены на расстоянии l3 не более 7 мм от открытого торца стаканчика и имеют толщину h не менее 0,3 мм и ширину l2 1±0,15 мм, а на внутренней поверхности обтюратора выполнен выступ в виде толстостенного кольца с наружным диаметром d не менее 0,7 наружного диаметра D пыжа контейнера и высотой не менее 3,0 мм.

    Сущность изобретения представлена на чертеже.

    На чертеже представлена конструкция предлагаемого пыжа-контейнера.

    Предлагаемый пыж-контейнер состоит из стаканчика 1 для дроби; амортизатора 2; обтюратора 3; перемычек 4, соединяющих лепестки стаканчика через прорези 5, и выступа 6 на внутренней поверхности обтюратора,

    Пыж-контейнер работает следующим образом.

    Вследствие экспериментально подобранных геометрических параметров перемычек, прорезей и добавления в конструкцию пыжа-контейнера специального выступа на внутренней поверхности обтюратора достигается надежное отделение пыжа-контейнера от дроби при его полете без разрыва перемычек. Отделение пыжа-контейнера от дроби без разрыва перемычек происходит за счет того, что в достаточно широкие и длинные прорези между лепестками [ширина (1,0±0,2) мм и длина 0,7-1,0 высоты стаканчика под дробь] при полете происходит перемещение воздуха внутри пыжа-контейнера и дробового снаряда, а наличие массивного выступа на обтюраторе пыжа-контейнера приводит к повышенному колебанию пыжа-контейнера в полете. Масса выступа составляет около 12% массы всего пыжа-контейнера. В совокупности эти оба фактора препятствуют заклиниванию дроби внутри контейнера и обеспечивают надежное отделение пыжа-контейнера от дроби. Однако это отделение происходит значительно дальше от дульного среза ружья, чем в случае пыжа-контейнера, известного по прототипу, у которого перемычки, соединяющие лепестки, разрываются. Этим обеспечивается более высокая кучность стрельбы при использовании пыжа-контейнера предлагаемой конструкции.

    Экспериментально было установлено, что при использовании перемычек толщиной более 0,3 мм и шириной (1±0,15) мм в количестве 2, 3 и 4 штуки на каждую прорезь они надежно не разрываются при стрельбе из различных ружей (ТОЗ-87, МР-153, МЦ-21-12), имеющих стволы с дульными сужениями до 1 мм. При этом пыжи-контейнеры изготавливались таким образом, что все перемычки располагались равномерно на расстоянии не более 7 мм от открытого торца стаканчика.
     

    Вложения:

    • 00000001-m.gif
      00000001-m.gif
      Размер файла:
      15,6 КБ
      Просмотров:
      313
    igorivanovich нравится это.
  15. igorivanovich

    igorivanovich
    Игорь
    Сыктывкар Бывалый

    Регистрация:
    02.10.19
    Сообщения:
    290
    Рейтинг:
    28
    Благодарности:
    14
    Адрес:
    Сыктывкар
    Оружие:
    brixia 12,MP-155(Profi), Sabatti Olimpo
    @kislin65, Михаил Александрович, интересна кучность отстрела этим контейнером с полным чоком - 86-87% . Интересна идея погона струи встречного воздуха через дробь - в продольные отверстия. Где можно купить штук 200-500 таких контейнеров( желательно с максимально укороченным амортизатором и усиленными перемычками), для умещения в 70 гильзе с тринаром из сунара 42? Куплю,отстреляю,результат покажу. Найдёте хотя-бы 50-100 шт? Матрицы наверняка остались, может и отлитые где-нибудь валяются? Сезон закончится-тема затухнет.
     
    Последнее редактирование: 4 фев 2020
  16. Gennadij13

    Gennadij13
    Королёв Ветеран

    Регистрация:
    20.07.16
    Сообщения:
    971
    Рейтинг:
    962
    Благодарности:
    482
    Адрес:
    Королёв
    Оружие:
    ТОЗ 120 М 1
    Дробь №5 40 гр
    Сокол 2.3 .моно.резкость 3.2Ф
    Сокол 1.6 +1 куч. чок 81% резкость 3.5Ф
     
    igorivanovich нравится это.
  17. igorivanovich

    igorivanovich
    Игорь
    Сыктывкар Бывалый

    Регистрация:
    02.10.19
    Сообщения:
    290
    Рейтинг:
    28
    Благодарности:
    14
    Адрес:
    Сыктывкар
    Оружие:
    brixia 12,MP-155(Profi), Sabatti Olimpo
    35 м?
     
  18. Gennadij13

    Gennadij13
    Королёв Ветеран

    Регистрация:
    20.07.16
    Сообщения:
    971
    Рейтинг:
    962
    Благодарности:
    482
    Адрес:
    Королёв
    Оружие:
    ТОЗ 120 М 1
    @igorivanovich, да . резкость я вроде где-то на 50метров дроби 3 сравнивал . вроде 3.6 ф на 35 а на 50 метров 3ф было по одной доске
     
    igorivanovich нравится это.
  19. igorivanovich

    igorivanovich
    Игорь
    Сыктывкар Бывалый

    Регистрация:
    02.10.19
    Сообщения:
    290
    Рейтинг:
    28
    Благодарности:
    14
    Адрес:
    Сыктывкар
    Оружие:
    brixia 12,MP-155(Profi), Sabatti Olimpo
    Как обещал-выезжал сегодня на отстрел. Стрелял 20 патронов. Все снаряжал #1, тк нормальной тройки не осталось. После анализа мишеней и разных вариантов контейнеров -стало понятно, какие детали и требования должны быть у контейнера, что именно влияет на равномерность. Нормальное среднее количество дробин 24 шт, при весе дроби 30 грамм. Стрелял с 50 м.
    Пока лучшая мишень. Если найду норм тройку до след выходных-соберу норм контейнеры,результат должен быть качественный, с равномерным покрытием и у тройки.
     

    Вложения:

    Последнее редактирование: 10 фев 2020
  20. Gennadij13

    Gennadij13
    Королёв Ветеран

    Регистрация:
    20.07.16
    Сообщения:
    971
    Рейтинг:
    962
    Благодарности:
    482
    Адрес:
    Королёв
    Оружие:
    ТОЗ 120 М 1
Наверх
;